Chevrolet Sonic Repair Manual: Front Wheel Drive Shaft Inner Joint and Boot Replacement
Special Tools
DT-35910 Drive Axle Boot Clamp Pliers
For equivalent regional tools, refer to Special Tools.
- Disassemble Procedure
-
Note:
There are types of inner joints available. If the inner
joint is connected with the CV style joint, the inner joint is not serviced
separately. The inner joint is serviced with the wheel drive shaft as an
assembly. If the inner is a tripot type joint follow the procedure below.
- Remove the wheel drive shaft from the vehicle. Refer to Front Wheel
Drive Shaft Replacement.
- Install the wheel drive shaft in a soft jawed vise.
- Using a pair of side cutters, remove and discard the small boot clamp (4)
from the boot (3).
- Using the appropriate tool, remove and discard the large boot clamp (2) from
the boot (3).
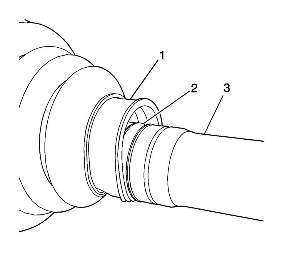
- Remove the boot (3) from the from the tripot housing (1).
- Remove the inner tripot housing (1) from the wheel drive shaft (3).
- Using the appropriate tool, remove the outer tripot spider retaining
ring (1) from the wheel drive shaft (5).
- Remove the tripot spider (2) from the wheel drive shaft (5).
- Using the appropriate tool, remove the inner tripot retaining ring (3),
if equipped, from the wheel drive shaft (5).
- Remove the wheel drive shaft boot (4) from the wheel drive shaft (5).
- Inspect the wheel drive shaft inner joint. Refer to Wheel Drive Shaft
Inner Joint Inspection.
- Assemble Procedure
-
- Install the boot (1) on the wheel drive shaft (3).
- Ensure that the boot (1) is properly seated in the groove (2) in the
wheel drive shaft.
- Using the appropriate tool, install the inner tripot retaining ring (3),
if equipped.
- Install the tripot spider (2) until just touches the shoulder on the
wheel drive shaft (5).
- Using the appropriate tool, install the outer tripot spider retaining
ring (1).
- Using the DT-35910 drive axle boot clamp pliers with a ratchet
wrench and a breaker bar (1), close the boot clamp (2) until the gap (3) measures
1.8 mm (0.07 in)
.
- Install the tripot housing (1) on the wheel drive shaft (3).
- Install the wheel drive shaft boot (3) on the tripot housing (1).
- Place approximately half of the lubricant (2) in the boot (1) and the
remaining half in the tripot housing (3).
Note:
Ensure that the boot clamp is properly positioned around
the entire circumference of the boot.
- Using the DT-35910 drive axle boot clamp pliers (3), a ratchet
wrench (4) and a breaker bar (5), close the boot clamp (1) until the gap (6) measures
1.9 mm (0.07 in)
.
- Remove any of the excess lubricant from the tripot housing and wheel
drive shaft.
- Move the tripot joint housing in a circular motion to distribute the
lubricant in the tripot housing.
- Remove the wheel drive shaft from the vise.
- Install the wheel drive shaft in the vehicle. Refer to Front Wheel Drive
Shaft Replacement.
Front Wheel Drive Intermediate Shaft Replacement
Callout
Component Name
Preliminary Procedure
Raise and support the vehicle. Refer ...
Special Tools
DT-35910 Drive Axle Boot Clamp Pliers
For equivalent regional tools, refer to Special Tools
Disassemble Procedure
Remove the wheel drive shaft from the vehicle. Refer ...
Other materials:
Tire Pressure
Tires need the correct amount of air pressure to operate effectively.
Caution
Neither tire underinflation nor overinflation is good. Underinflated tires,
or tires that do not have enough air, can result in:
. Tire overloading and overheating which could lead to a blowout.
. Premature or ir ...
Rear Spring, Insulator, and Jounce Bumper Replacement
Rear Spring, Insulator, and Jounce Bumper Replacement
Callout
Component Name
Preliminary Procedure
Raise and support the vehicle. Refer to Lifting and Jacking the Vehicle.
1
Rear Spring
Proced ...
Automatic Transmission Shift Lock Control Description and Operation
The automatic transmission park lock control system is a safety device that prevents
an inadvertent shift out of PARK. The driver must press the brake pedal before moving
the park lever out of the PARK position. The system consists of the following components:
The automatic transmission pa ...
В© 2014-2025 Copyright www.csmans.com

0.0074