Chevrolet Sonic manuals

Chevrolet Sonic Repair Manual: Rear Side Door Window Switch Replacement

Chevrolet Sonic Repair Manual / Body / Doors and Enclosures / Doors / Rear Side Door Window Switch Replacement



Rear Side Door Window Switch Replacement

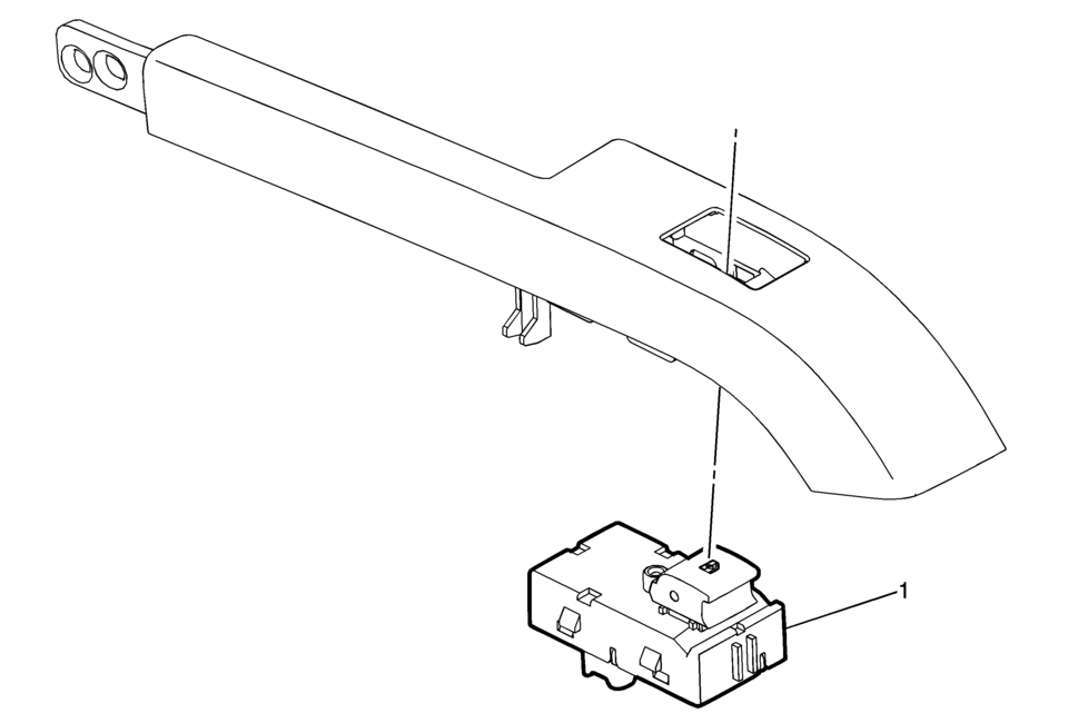
Callout

Component Name

Preliminary Procedure

Remove the rear side door window switch bezel. Refer to Rear Side Door Window Switch Bezel Replacement.

1

Rear Side Door Window Switch Assembly

Procedure

  1. Disconnect the electrical connectors.
  2. Refer to Control Module References for programming and set up procedures.
Rear Side Door Window Switch Bezel Replacement
Rear Side Door Window Switch Bezel Replacement Callout Component Name Preliminary Procedure Remove the rear side door trim. Ref ...

Rear Side Door Window Weatherstrip Replacement (Hatchback)
Rear Side Door Window Weatherstrip Replacement Callout Component Name Preliminary Procedure Remove the rear side door window . ...

Other materials:

Tire Pressure Indicator Sensor Learn
Special Tools EL-46079 Tire Pressure Monitor Diagnostic Tool EL-50448 Tire Pressure Monitor Sensor Activation Tool For equivalent regional tools, refer to Special Tools. Learn Mode Description The tire pressure monitor system uses the instrument cluster, body control module ...

Front Floor Console Cover Replacement (Manual Transmission)
Removal Procedure Use a flat bladed plastic trim tool in order to release the retainers securing the console cover?€‰(1) to the console assembly. Reach under the console cover assembly?€‰(1) and release the retainer tabs securing the transmission shif ...

Front Floor Console Cover Replacement (Manual Transmission)
Removal Procedure Use a flat bladed plastic trim tool in order to release the retainers securing the console cover?€‰(1) to the console assembly. Reach under the console cover assembly?€‰(1) and release the retainer tabs securing the transmission shif ...

© 2014-2026 Copyright www.csmans.com
 
0.0063