 
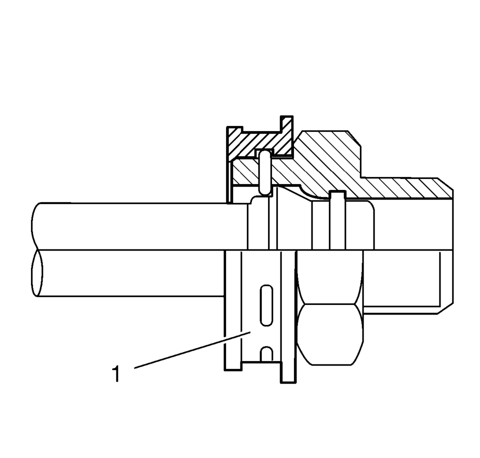
Note:
Perform the following procedure when removing the retaining rings and cooler lines from the quick connect fittings located on the radiator and/or the transmission.
 
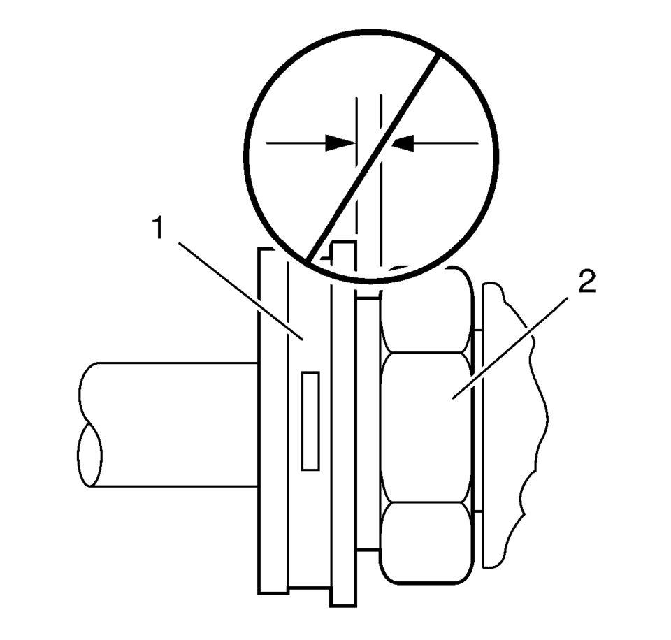
Note:
 
 
 
 
 

 
Note:
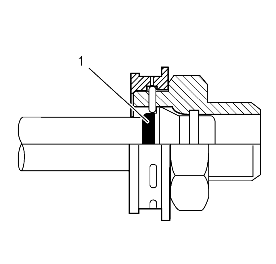
Do not manually depress the retaining clip when installing the plastic cap.
 
 
 
 ATF Lines
ATF LinesLiftgate Window Replacement
  		Special Tools
	BO-24402-A Glass Sealant Remover (Cold Knife) 
	BO-39032 Stationary Glass Removal Tool 
	Use an adhesive that is approved by GM
For equivalent regional tools, refer to Special Tools 
	Removal Procedure 
	
	
		
			Warning: Refer to Cracked Window Warning. 
		
		
			Note ...
   	
Airbag Side Impact Sensor Replacement (with AYF/AYO)
  		
	Airbag Side Impact Sensor Replacement
	
		
	
	
		
			
			Callout
			
			
			Component Name
			
		
	
	
		
		
			Warning: Refer to SIR Warning. 
		
		
			Warning: Refer to SIR Inflator Module Handling and Storage 
			Warning. 
		
		
			Warning: Following the deployment o ...
   	
Camshaft Removal
  		
	
	
	
		Note: Note removal sequence 1?E. 
	
	Remove the 4 camshaft bearing cap bolts.
	
		Note: Release the bearing support by striking it gently with a 
		plastic hammer. 
	
	
	Remove the first camshaft bearing cap (1).
	
	
	Loosen the 8 exhaust camshaft bear ...